Патент был зарегистрирован во Всемирной организации интеллектуальной собственности (WIPO). Документ распространяется на любой легковой автомобиль, однако в нём отдельно упоминается применение «в спортивных автомобилях».
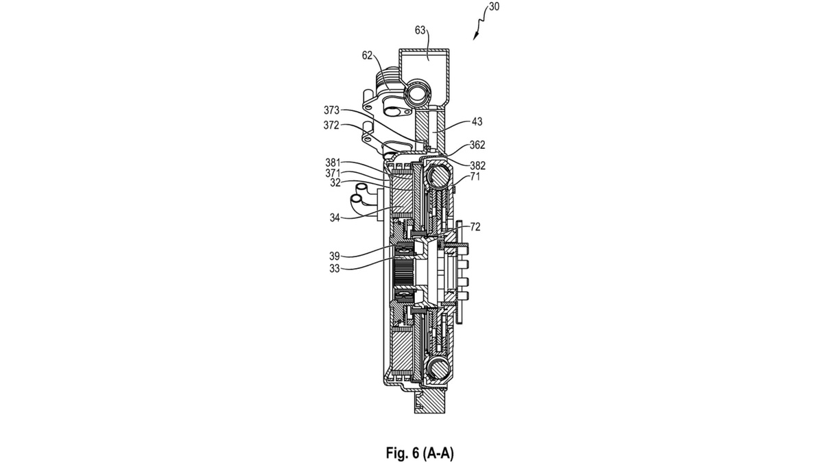
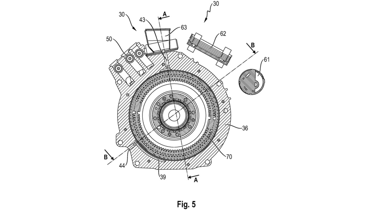
Вместо установки относительно крупного электродвигателя с радиальным потоком в корпус коробки передач PDK, как это сейчас делает Porsche в 911 Carrera GTS, тонкий дисковый электродвигатель с осевым потоком будет располагаться между двигателем и трансмиссией.
Двигатель с осевым потоком (также известный как "дисковый двигатель") – это электродвигатель, в котором магнитный поток проходит параллельно оси вращения, в отличие от обычных радиальных двигателей, где поток перпендикулярен оси. Это позволяет создавать более компактные, легкие и эффективные конструкции с высокой удельной мощностью и крутящим моментом, особенно на низких скоростях.
Патентом предусмотрено, что электродвигатель и двигатель внутреннего сгорания будут работать вместе через коробку передач с двойным сцеплением. Благодаря сверхтонкой конструкции электрического двигателя (толщина в некоторых современных моделях составляет всего 7,9 сантиметра), он не увеличит длину всей силовой установки.
Утверждается, что такая конструкция способствует меньшему тепловыделению. В сочетании с проницаемой камерой в форме чаши или колокола, описанной в документе, электродвигатель, и двигатель внутреннего сгорания должны получать достаточное охлаждение. Главный вопрос: сколько мощности может создавать эта гибридная система?
Известно, что самые производительные агрегаты Yasa достигают мощности более 470 л.с. и крутящего момента 800 Нм. Гибридный Ferrari SF90 использует три двигателя Yasa общей мощностью 217 л.с., в то время как два двигателя Lamborghini Revuelto развивают чуть менее 296 л.с. Но обе эти системы работают в паре с большими двигателями V8 и V12.
Если Porsche установит новый двигатель с осевым потоком в паре с 3,6-литровым турбодвигателем, то общая мощность может превысить 800 л.с.
Источник: Carbuzz


