BMW hat beim WIPO (World Intellectual Property Organization) einen Patentantrag für Schrauben mit Köpfen, die nach dem Vorbild des Firmenemblems gestaltet sind, eingereicht.

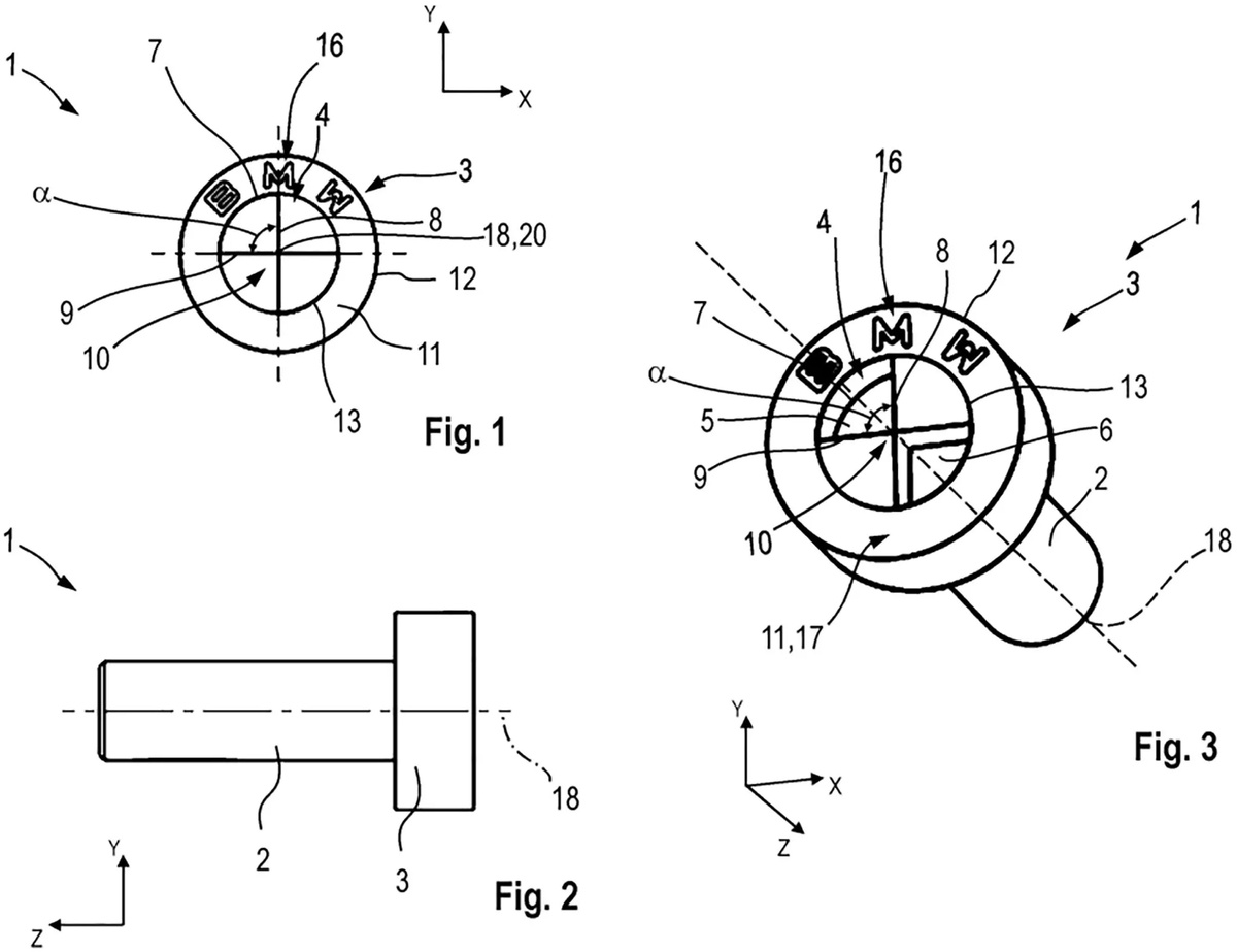
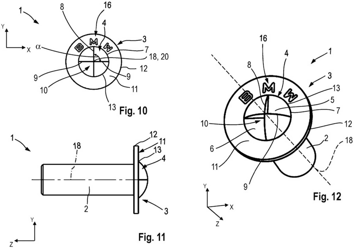
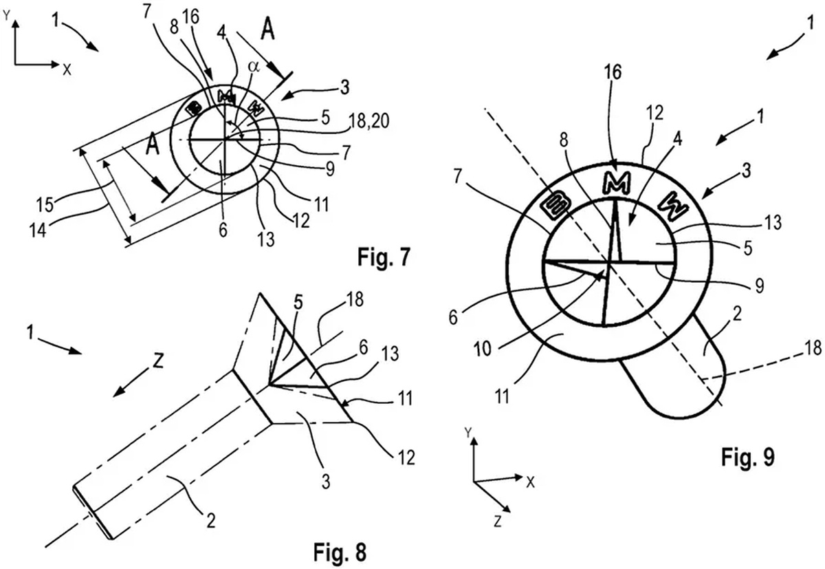
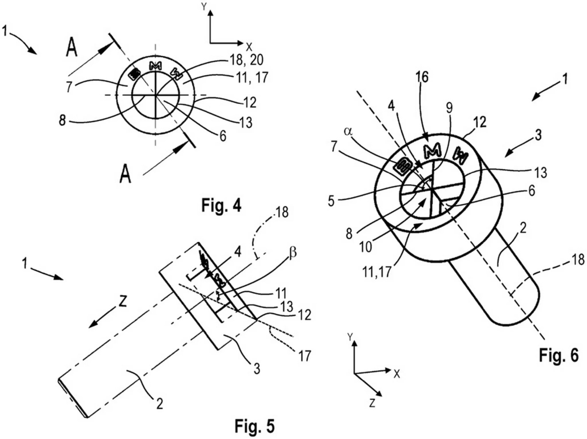
Das Patent beschreibt vier Arten von Köpfen, einschließlich flacher und abgerundeter. Jeder von ihnen spiegelt die Form des BMW-Emblems wider, das in vier Sektoren unterteilt ist. Zwei Sektoren sind eingesenkt, während der Rest flach oder hervorstehend ist.

Auf den ersten Blick sehen die markeneigenen Schraubenköpfe interessant aus, besonders wenn sie an sichtbaren Teilen von Autos verwendet werden. Aber für Mechaniker oder Besitzer mit Standard-Werkzeugsätzen sind sie viel weniger attraktiv. Unkonventionelle Schrauben bedeuten, dass herkömmliche Werkzeuge nicht passen, und jeder, der Zugang zu wichtigen Knotenpunkten haben möchte, benötigt möglicherweise spezielle BMW-Ausrüstung.

Es ist nicht schwer, sich die Kopfschmerzen vorzustellen, die dies in Werkstätten verursachen könnte. Standard-Sets sind nicht geeignet, und wenn Sie kein BMW-Händler oder ein engagierter Enthusiast sind, werden Sie feststellen, dass Ihnen ein Schraubendreher für eine vollständige Reparatur fehlt.

Ob diese Schrauben jedoch in Produktion gehen werden, bleibt fraglich. Automobilhersteller reichen viele Patente ein, die nie über theoretische Überlegungen hinausgehen. Diese speziellen Zeichnungen wurden am 7. Juni 2024 eingereicht und am 11. Dezember 2025 veröffentlicht. Aber sie bleiben bis jetzt nur Zeichnungen.

Quelle: Autoblog

Tags: BMW
Евгений Ушаков
Evgenii Ushakov
17 jahre am Steuer